上一篇 下一篇 分享链接 返回 返回顶部

【深度解析:印象如何顺利连接六孔主机】

发布人:董事长 发布时间:2025-11-24 12:40 阅读量:179

印象连接六孔主机的步骤指南

一、引言

对于许多初次接触六孔主机的用户来说,连接设备可能会显得相对复杂。这篇文章旨在提供一个清晰的步骤指南,帮助用户顺利完成印象连接至六孔主机的过程。无论您是初学者还是进阶用户,这篇文章都将为您提供有价值的信息。

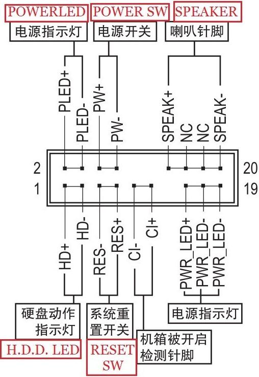
印象怎样连接六孔主机

二、准备工作

在开始之前,请确保您已经准备好以下物品:印象设备、六孔主机以及适当的连接线。确保所有设备都处于关闭状态并已经充电至足够的电量。此外,确认您的设备具有正确的接口以便连接。

印象怎样连接六孔主机

三、具体步骤

以下是连接印象至六孔主机的详细步骤:

印象怎样连接六孔主机
  1. 打开六孔主机并确认其处于工作状态。
  2. 将印象设备的连接线插入印象设备的相应接口。确保连接稳固。
  3. 确认连接线的另一端与六孔主机的接口相匹配。插入接口并确保连接稳固。
  4. 打开印象设备并等待其自动与六孔主机建立连接。在某些情况下,可能需要按下设备上的配对按钮。
  5. 如果设备成功连接,您应该能在六孔主机的显示屏上看到相应的提示。如果没有,请检查所有连接是否稳固,并尝试重新连接。
  6. 一旦成功连接,您可以开始使用印象设备与六孔主机进行交互。

四、常见问题及解决方案

如果在连接过程中遇到问题,以下是一些可能的解决方案:

  1. 检查所有设备是否已充电并处于工作状态。
  2. 确保使用的连接线是适用于您的设备的。
  3. 尝试重新连接或更换连接线。
  4. 如果问题仍然存在,请联系设备制造商的客户支持团队寻求帮助。

五、总结

连接印象至六孔主机可能需要一些时间和耐心,但遵循上述步骤,您将能够成功完成连接过程。一旦连接成功,您将能够充分利用您的设备,享受更加便捷和高效的体验。

目录结构
全文